Référence : 66.091.40.791212

Caractéristiques

Orientation raccord BSP Droit
Type de raccord BSP Adapteur
Implantation BSP x ? BSP x Gaz côn.
Matière Raccord Inox
[num] 242

Fiche technique

Pression de service (bar) 200
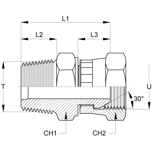
CH2 32
CH1 27
FILETAGE T 3/4”
L3 16
L2 17.5
L1 44.5
SOUS FAMILLE RACCORDS ET ADAPTEURS INOX BSP - BSI 5200 - Iso 8434-6
Filetage U 3/4”
Désignation commune Adapteur inox Mâle Gaz cônique x Femelle BSP écrou tournant
Référence 66.091.40.791212
Désignation Adapteur inox Mâle Gaz cônique 3/4" x Femelle BSP 3/4" écrou tournant

Description générale

Pour rappel, il s'agit d'un raccord en INOX

Caractéristiques techniques
Pression de service : selon référence

Instructions de montage
Fixez d'abord le côté raccord Gaz cônique, puis fixez l'écrou BSP

Maintenance
Pas de maintenance particulière à prévoir sur ce raccord

Vous devez vous connecter pour voir le prix de ce produit.

EDH
Votre contact commercial EDH

email Nous contacter

phone_in_talk 02 40 96 60 60